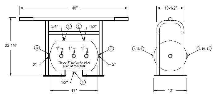
Compressor Air Receiver:
- built to ASME Code, National Board registered
- 7 gallon capacity
- 200 PSI working pressure
- all openings are female NPT thread
- painted safety orange
- conforms to OSHA standards 1910.169 and 1926.306
- 7 outlets
Unit of Measure
Specifications
Capacity |
N/A 7 gal |
Maximum Working Pressure |
N/A 200 psi |
Color |
N/A Safety Orange Top Coat |
Inlet Size |
N/A 2 in |
Outlets |
N/A 7 |
Components Included |
N/A
|
Approximate Tank Dimensions |
N/A 12 x 17 in |
Approximate Tank Dimensions with Frame |
N/A 40 x 24 in |




